Patent Information
A cutting-edge device created to make construction work safer and healthier.
Our patent-pending Hydro-Tail™ technology works in conjunction with numerous power tools, providing an easy and effective way to remove or mitigate dangerous air particles and contaminants from the air during cutting, drilling or grinding operations, when working with stone, brick, and tile.
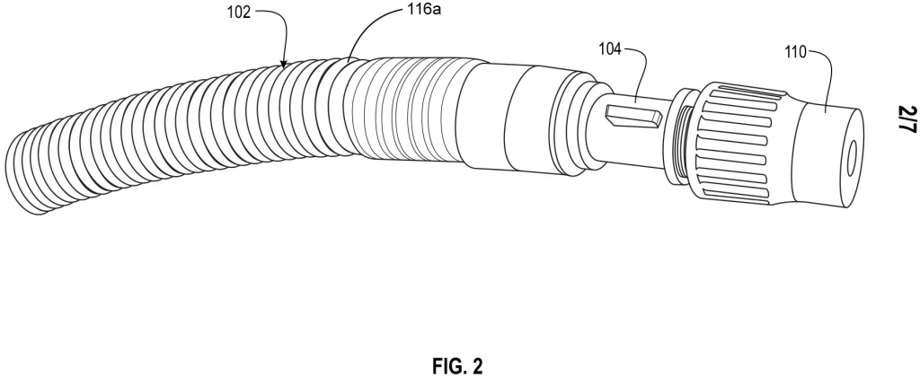
Our patent pending Hydro-Tail™ product is a novel and efficient water-supplying and directing device that supplies and directs water to the substrate during cutting and grinding activities for practically all hand-held power tools. The Hydro-Tail™ product includes an inner tube fabricated of a flexible aluminum material embedded within an outer coil, which is designed to flexibly adjust and be positioned at nearly any angle desired.

The outer coil is designed to position the inner tube to direct a flow of water relative to the hand-held power tool and substrate, at the desire of the operator. The Hydro-Tail™ product includes a pressure control unit that is attached to its nozzle at an outlet of the water-supplying tube of the Hydro-Tail™ product, which can be used to adjust the flow and pressure of water supplied to the point of cutting or grinding, where the power tool engages the substrate.

Hydro-Tail™ can be easily fastened to nearly any hand-held power tool using one or more of the included hook and loop fasteners. The inner tube is fabricated of a high quality flexible aluminum material that is designed to flexibly adjust to the desired position, at the option of the user. The inner tube is coated with a black rubber, whereas the outer coil is a copper coil. The pressure control unit is designed to rotate in order to adjust the pressure of water supplied to the point of cutting or grinding of the substrate. In such manner, the Hydro-Tail™ product can remove dangerous air particles and contaminants from the air during cutting, drilling or grinding operations.

Want to know more?
We are happy to share full details regarding both our patent pending technology behind Hydro-Tail™ product. Send us your inquiries via the form below and we will respond quickly, often within 24 hours or less.
"*" indicates required fields